Page 1 of 1
Mixture control parts (Stromberg)
Posted: Tue Jul 29, 2025 11:57 am
by rescurat
1946 140 C-85 w/Stromberg carb
Adding mixture control McFarlane PN MC600-72. I’m having trouble finding the correct PN for the wire clamp bolt that connects the inner wire to the mixture arm.
Re: Mixture control parts (Stromberg)
Posted: Tue Jul 29, 2025 8:40 pm
by 6643
Check Aircraft Spruce and Univair for cable swivels.
Re: Mixture control parts (Stromberg)
Posted: Tue Jul 29, 2025 8:50 pm
by edidin
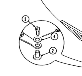
The clamp is part number 0450258 (part 2)

- Mixture Clamp.jpg (23.57 KiB) Viewed 3841 times
. There's one on eBay or there's a substitute at Cessna, P/N S4628-1242. The Cessna price $142, suggesting that these are EOL and won't be made again (supposedly there's some correlation between price and how long something has been on the shelf (rent) with Cessna parts, but that could be all wrong).
There's a #8 screw and a washer that makes up the rest of the assembly. I believe you can also use the standard sort of Cessna "wire clamp" (basically a drilled bolt with the hole at the wrong end) for about $20, but since the actual replacement part which is more "T" shaped is available, I'd go with that.
Re: Mixture control parts (Stromberg)
Posted: Wed Jul 30, 2025 7:31 am
by 6643
Maybe not the best choice, but it might be worth looking around...
$1.15 at aircraft Spruce. Bring your own washer.